Skip to product information

GOLF CART : Kruiser 4P PRO Forward A & B Models
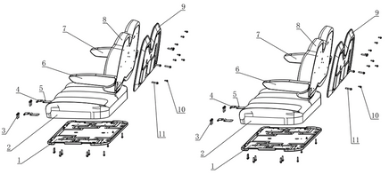
SEATS
Ref# | Part Number | ||
---|---|---|---|
1 |
M1203-7203031SQ
Seat Cushion Mounting Panel
|
||
2 |
M1224-7203020 Front Seat Cushion |
||
3 |
Q2140622F33
Phillips Pan Head Screw - M6×1×22
|
||
5 |
M1203-7209041 Hinge Plate |
||
6 |
M1224-7205033
Armrest PRO (Driver Side)
|
||
7 |
M1224-7205038
Armrest PRO (Passenger Side)
|
||
8 |
M1224-7205020
Backrest Cushion PRO
|
||
9 |
M1203-7205031SQ
Seatback Panel
|
||
10 |
Q1840616T1F33
Hexagon Flange Bolt - M6×1×16
|
||
11 |
Q1840830T1F6
Hexagon Flange Bolt - M8×1.25×30
|
**14- day return policy. Customer is responsible for return shipping and 35% restocking fee. Merchandise must be un-used or refund will not be processed.**